
產品簡介:氣流篩分機,是一種對微細粉進行有網篩分的高精度篩分設備,氣流篩分機廣泛應用于化工、醫藥、食品、造紙、冶金、建材、橡膠、機械等行業。可對細度范圍在80-500目內的粉狀...
處理能力:1-15噸/小時
材質:碳鋼或不銹鋼
功率: 3-15KW
咨詢報價銷售熱線:0373-268 2333
 
氣流篩分機,是一種對微細粉進行有網篩分的高精度篩分設備,廣泛應用于化工、醫藥、食品、造紙、冶金、建材、橡膠、機械等行業。可對細度范圍在80-500目內的粉狀物料很好的連續篩分,篩網可任意更換。氣流篩分機(氣流篩)篩分效率高、產量大,細度小、無超徑混級現象,篩網立裝不荷重、使用壽命長,適應細度范圍廣,全封閉結構,無粉塵溢散,噪音小能耗低、可連續作業,維修方便。
氣流篩分機具有高效粒度分級、處理量大、能耗低、結構簡單、易清洗維護等特點。適用于粉體物料的粒度分級和篩分,提高生產效率和產品質量。
 
 
1、 篩分效率高:可達到95%以上;
2、臺時產量是振動篩>的5-10倍或更高;
3、適應細度范圍廣:80-530目的粉狀物料均可高效篩分;
4、產品篩分精度高,無超級混級現象;
5、 篩網垂直安裝,不負重,使用壽命長;
6、 篩分程序在負壓半循環狀態下進行,無粉塵污染;
7、可與各種磨機,風路并網配套使用;
8、噪音小、耗電低、連續作業、減少維修。
 
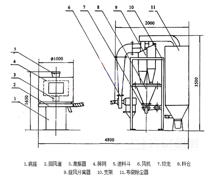
主機氣流篩擯棄了傳統的重力勢能作業原理,開辟了載流體動能做功的篩理新途徑,它是在密閉狀態下利用高速氣流作載體,使充分擴散的粉料微粒以足夠大的動能向篩網噴射,達到快速分級之目的。
微細粉物料經進料斗流入進料口,立即擴散并與空氣混合成霧狀,經旋轉風輪的作用,呈旋風狀噴射過網,過網后的細粉經振動輸送進入或直接落入負壓循環風道,在引風機的作用下,氣體與細粉全部進入沉降室,成品細粉沉降后由下部的排料絞龍排出,帶有少量料粉塵的氣體大部進入除塵布袋,經凈化后排出袋外,還有一小部分,由回風管進入篩體下的環形循環風道,再經引風機進入沉降室進行二次分離。
顆粒直徑大于網孔的物料不能過網,落入篩盤內由排渣口排出機外。對于含有大顆粒的物料,應選用振動篩或旋振篩安裝40-60目的篩網進行預處理,將粗大顆粒或異物排除掉,以免主機內的細網被刺穿或打壞。
 
 
氣流篩分機通過風力將粉體物料投入分級室,利用篩網進行粒度分級,細顆粒通過篩網,粗顆粒被阻留,最終分離出不同粒度的物料。其結構簡單,易于清洗和維護,處理量大,能耗低,適用于食品加工、化工、制藥等領域的粉體物料分級和篩分工作,提高生產效率和產品質量。
 
該機適合80-530目有網各種粉狀物料篩選分級,其篩分效率高、產量大、自動進料排料、連續作業、無污染,使以往用各種振動篩難以進行高細度精密篩分作業成為易事。經過對120-180目輕鈣、300目重鈣、400目活性鈣、300目山楂粉、320-500目鋅粉、500目氧化鐵黑、氧化鐵紅、120-160目中藥粉、180-270目石英粉等物料的篩分使用,測得每平方米篩網面積每小時產量均在一噸左右,同時測得篩分效率在95%以上,空氣含塵量低于10mg/m3。
石墨粉、樹脂粉、中藥粉、涂料、粉煤灰、滑石粉、工業藥品、化妝品、滅火劑、塑料粉、陶土、研磨料、鋁粉、玻璃粉、耐火材料、淀粉、奶粉、冶金粉末、電磁材料、銅粉、炭黑、活性炭、輕質碳酸鈣、鐵礦砂等。
 
| 型號 | LQS-600 | LQS-1000 | LQS-1600 | 
| 氣流量 | 240-1100 | 300-2500 | 460-4900 | 
| 篩網規格 | 80-600目任意更換 | ||
| 入料顆粒 | 40目以細 | ||
| 篩機功率 | 3 | 5.5 | 15 | 
| 主軸轉速 | 450-145 | ||
| 篩機外徑 | φ600 | φ1000 | φ1600 | 
| 全高 | 1150 | 1730 | 2300 | 
  
 
篩網安裝要正確,本機篩網成圓筒狀安裝,篩網的上、下端分別由鋼絲繩固定。篩網接頭處用810粘合劑搭接粘合,搭接寬度約30-50mm。固定兩端鋼絲繩時,邊緊固邊調正篩網,使篩網不扭曲、不打鄒、均勻張緊。有網試篩時,先將進料量調小,逐漸加大進料量。
氣流篩粉機組操作啟動順序:引風機→氣流篩→排料絞龍。
停機順序為:氣流篩→引風機→排料絞龍。
布袋除塵器的收塵布袋應及時抖動,一般每小時拍打或抖動一次。
操作人員要按產品說明書的要求,正確使用設備,作好設備的清潔、潤滑、緊固和防腐蝕等日常維護工作,使設備經常保持內外清潔、性能良好、安全可靠的狀態。
電器控制箱要保持清潔,嚴防粉塵落入控制箱,造成電器原件失靈或短路。
主機、電機和風機每年要檢修一次,加入少量潤滑油,清除電機內粉塵。
激振器每年必須維修一至二次,每次維修要加潤滑油,連接螺栓要緊固。
篩網更換要遵照操作部分一條的要求,保證均勻張緊,固定兩端鋼絲繩時邊緊固邊調整篩網。